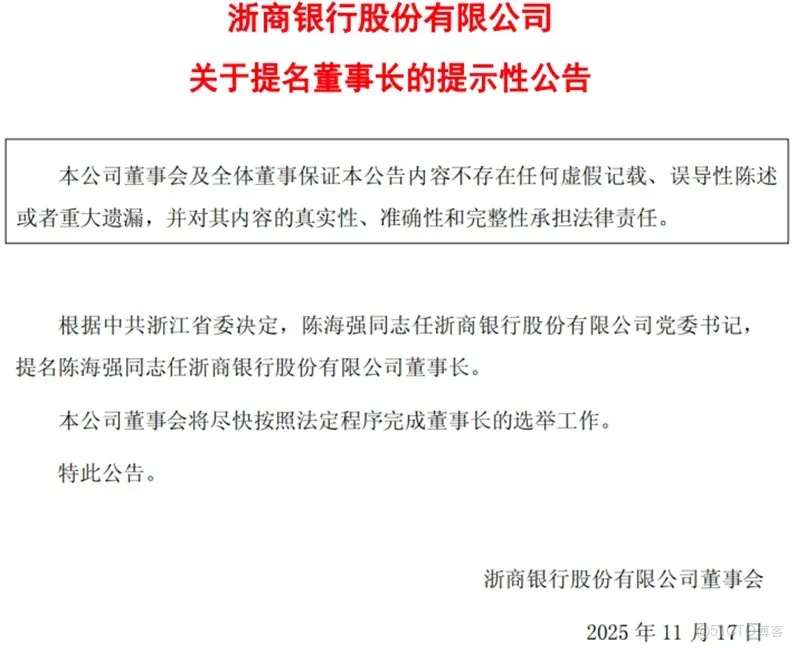
11月17日晚間,浙商銀行的一則人事公告在財經圈引發連鎖反應。

深耕該行十年的“70後”老兵陳海強,被正式提名董事長,成為這家總資產超3.39萬億元的全國性股份制銀行成立以來,首位從內部體系一路晉升的“一把手”。

十年老兵臨危受命,浙商銀行困局待解_技術儲備

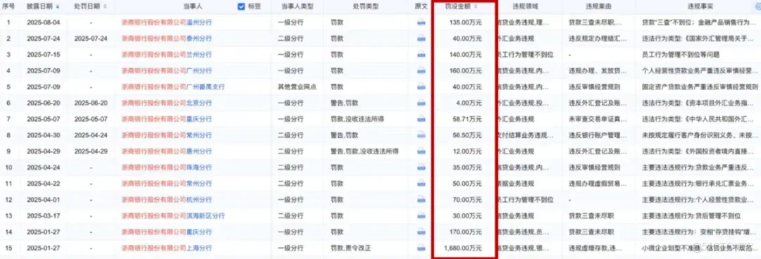
此時的浙商銀行,正站在命運的十字路口:2025年已累計收到21張監管罰單,罰沒金額高達4645.75萬元;前三季度營收、淨利潤雙雙下滑,降幅遠超行業平均;曾引以為傲的“浙系一哥”地位,已被寧波銀行、杭州銀行先後超越。

陳海強的走馬上任,是臨危受命的破局之舉,還是難以逆轉行業週期的無奈選擇?這家三萬億級銀行的轉型之路,註定佈滿荊棘。

01  十年深耕終掌印

陳海強的職業生涯始終紮根在浙江這片金融沃土上。

早年在國家開發銀行浙江省分行積累了風險管控經驗,隨後在招商銀行寧波體系深耕13年,從分理處副主任一路升至分行副行長,親歷了銀行業市場化改革的激盪浪潮。

2015年,陳海強加盟浙商銀行,彼時正是該行從區域性銀行向全國性銀行加速擴張的關鍵階段。他被委以重任,出任寧波分行黨委書記、行長。針對寧波外貿企業密集的特點,他主導推出跨境電商金融服務方案,讓寧波分行成為總行的標杆機構。2017年調任杭州分行行長後,他又聚焦科創企業與高端製造業,在供應鏈金融領域撕開增長缺口。

憑藉在區域市場的亮眼業績,陳海強逐步邁入總行核心管理圈。2018年5月升任行長助理,2020年7月晉升副行長,2021年6月當選執行董事併兼任首席風險官。

在首席風險官任上,他牽頭重構三道防線風控體系,在浙商銀行早年擴張遺留風險集中爆發的時期,壓縮高風險行業貸款額度,推進不良資產清收處置,為銀行築牢了風險防線。

2025年更是陳海強職業生涯的“躍升之年”。4月初,他被任命為浙商銀行黨委副書記、行長;7月,前任董事長陸建強到齡辭任後,他開始代為履行董事長職責;11月,浙江省委正式任命其為黨委書記並提名董事長,短短七個月便完成了“兩級跳”。

與前四任政企跨界、外部調任的掌舵者不同,陳海強的優勢顯而易見——他熟悉369家分支機構的運作肌理,清楚各項業務流程的堵點漏洞,更能最大限度減少管理層更迭帶來的戰略斷層,這對於處於風險修復關鍵期的銀行而言至關重要。

但市場更清楚,這份內部優勢背後,是十年間與銀行綁定的深度責任。他見證了浙商銀行的規模擴張,也親歷了粗放增長留下的隱患;參與了業務版圖的拓展,也目睹了合規管理的漏洞。如今走到台前,他必須直面自己參與塑造的這家銀行的光榮與荊棘。

02  三重枷鎖難掙脱

陳海強接掌的浙商銀行,正被三道枷鎖死死困住,每一道都足以檢驗金融管理者的魄力。

第一道枷鎖是合規風暴的持續衝擊

2025年堪稱浙商銀行的“罰單之年”。1月上海分行因虛增存貸款等15項違規被罰1680萬元;9月互聯網貸款業務失範再罰1130.8萬元;僅隔半月,又因反洗錢等七項違規被央行罰款295.99萬元;11月深圳分行再添330萬元罰單,涉及貸前調查不盡職等問題。

十年老兵臨危受命,浙商銀行困局待解_技術儲備_02

罰單背後,是浙商銀行從賬户管理到互聯網貸款、從金融產品銷售到員工管理的全面合規漏洞。對陳海強而言,如何將合規優先理念注入每一個業務末梢,遠比制定制度更艱難。

第二道枷鎖是業績滑坡的現實壓力

2025年三季報數據堪稱慘淡。前三季度實現營業收入489.31億元,同比下降6.78%;歸屬於股東的淨利潤116.68億元,同比下滑9.59%;單季度來看,三季度營收同比降幅擴大至8.88%,淨利潤跌幅更是高達18.45%,與銀行業整體復甦態勢格格不入。

盈利下滑的核心癥結在於“雙殺”格局。一方面,作為銀行盈利核心的淨息差持續收窄,前三季度僅為1.67%,同比下降13個基點,創下2019年以來新低;另一方面,非利息收入同比下滑14.3%,其中手續費及佣金淨收入降幅達22.4%,中間業務轉型徹底遇阻。

第三道枷鎖是區域掉隊的競爭困境

作為全國性股份制銀行,浙商銀行曾長期佔據“浙系一哥”的寶座,但如今這一地位已岌岌可危。2025年三季度末,寧波銀行總資產達3.58萬億元,不僅反超浙商銀行的3.39萬億元,且增速高達16.65%,是浙商銀行1.91%增速的8倍多;盈利端差距更為懸殊,杭州銀行淨利潤158.85億元,同比增長14.53%,與浙商銀行的9.59%降幅形成鮮明對比。

十年老兵臨危受命,浙商銀行困局待解_職業生涯_03

在浙江本土市場,民營經濟發達、新興產業集聚的紅利被競爭對手快速搶佔。寧波銀行深耕小微金融,杭州銀行聚焦區域產業,而浙商銀行既面臨全國性股份制銀行的跨界競爭,又要應對本土城商行的貼身肉搏,大而不強的問題日益凸顯。

03  風控老兵的救贖

面對內憂外患,陳海強給出的破局思路,核心是迴歸本源、堅守底線

在2025年中期業績説明會上,他明確提出不求規模、不壘大户、不掙快錢的經營理念,宣告浙商銀行徹底告別粗放擴張模式,轉向高質量發展軌道。

這一理念與其三十年的從業經歷高度契合。作為從基層成長起來的管理者,陳海強深知風險防控是銀行的生命線。在擔任首席風險官期間,他主導建立的三道防線風控體系,已在不良資產處置中發揮作用;針對2025年頻發的合規問題,他推動出台《全面合規管理實施細則》,要求分支機構開展合規自查自糾,強化對貸前調查、授信管理等關鍵環節的管控。

業務轉型方面,浙商銀行正聚焦“深耕浙江”戰略,啓動2025-2027年三年行動計劃,省內融資服務總量已達1.16萬億元。在先進製造業領域,每年新增融資不少於100億元;在科技金融領域,推出善科陪伴計劃,全年新增貸款目標100億元;針對外貿企業的跨境護航計劃,則明確2025年民營企業跨境融資投放不低於170億美元,精準錨定浙江產業優勢。

但轉型之路註定不會平坦。

首先,合規整改非一日之功,基層機構合規意識的提升需要時間,而監管處罰的高壓態勢短期內不會緩解,如何平衡整改與業務發展,避免一管就死、一放就亂,是對陳海強管理智慧的直接考驗。

其次,業務轉型面臨路徑依賴難題,浙商銀行此前依賴的高風險、高收益信貸模式已難以為繼,但低風險、均收益的業務模式需要長期培育,短期內難以扭轉盈利下滑趨勢。

再者,在區域競爭中,寧波銀行的小微金融、杭州銀行的區域深耕已形成成熟模式,浙商銀行的的差異化切入點仍待明確。

最後,陳海強曾任職13年的招商銀行,在大財富管理、金融科技等領域的成功經驗,能否複製到浙商銀行,也取決於該行的組織架構、技術儲備和人才梯隊能否跟上。

對於陳海強而言,這場救贖之戰,既是對其三十年金融從業經驗的終極考驗,也是對其戰略定力與執行能力的全面檢驗。

三萬億資產的大船轉向不易,罰單與下滑的業績是警示,也是倒逼改革的契機。浙商銀行能否擺脱規模情結的束縛,真正實現高質量發展;能否在寧波銀行、杭州銀行的圍剿中重拾區域競爭力;能否用穩健的業績回報市場信心,這些問題的答案,需要時間來給出。

但無論如何,浙商銀行的轉型故事已經告訴我們:在金融業的新時代,“跑得快”早已不如“走得穩”。對於更多銀行而言,摒棄短期規模衝動,堅守風險底線,深耕核心業務,才是穿越週期的根本之道。

陳海強和他帶領的浙商銀行,正站在這條轉型之路上,他們的探索與實踐,終將為中國銀行業的變革寫下重要的一筆。

而這場關於救贖與重生的故事,才剛剛拉開序幕。