PostIn是一款國產開源免費的接口管理工具,支持接口文檔管理、接口測試、接口調度,工具支持一鍵安裝零配置,頁面設計簡潔易用。本文將介紹如何編寫接口用例並進行全面測試。

1、接口用例

PostIn支持如下幾種測試用例。

接口單元用例:針對單個接口的輸入輸出進行驗證,包括正常數據返回、異常數據處理、邊界值校驗等,確保接口基礎邏輯的正確性。

接口場景用例:通過組合多個接口形成業務場景(如用户註冊-登錄-下單),驗證系統端到端的業務流程邏輯。

接口性能用例:通過模擬高併發請求,測試接口的吞吐率、響應時間、資源消耗等指標,驗證系統性能瓶頸。

1.1 添加接口單元用例

接口單元用例支持通過接口定義保存為用例、手動添加兩種方式。

  • 通過定義保存為用例

在接口管理,點擊調試tab,發送調試後,可將當前調試參數保存為用例。

PostIn從初級到進階(7) - 對接口進行全方位自動化測試,有效確保接口質量_#接口管理工具

保存為用例

輸入測試用例名稱,點擊提交,即可成功保存用例。

測試用例保存完畢之後,在接口的用例tab可查看當前接口產生的接口單元用例。

PostIn從初級到進階(7) - 對接口進行全方位自動化測試,有效確保接口質量_用例_02

接口用例列表

  • 手動添加

除了在接口管理利用接口調試內容生成接口單元,還可以在接口測試頁面手動添加接口,在接口測試頁面,點擊左側上方的“+”→添加用例

PostIn從初級到進階(7) - 對接口進行全方位自動化測試,有效確保接口質量_測試計劃_03

添加用例

輸入接口用例的基本信息進行添加。

PostIn從初級到進階(7) - 對接口進行全方位自動化測試,有效確保接口質量_#性能測試_04

直接添加

屬性

是否必填

描述

名稱

必填

測試用例名稱,簡單描述該用例目的,方便查詢、管理。

類型

必填

HTTP請求類型(GET、POST)。

地址

必填

接口請求地址。

模塊

選填

測試用例所屬模塊,方便快速查詢。

添加完成後,點擊用例名稱進入接口用例詳細內容進行編輯。

PostIn從初級到進階(7) - 對接口進行全方位自動化測試,有效確保接口質量_測試計劃_05

編輯信息

1.2 添加接口場景用例

接口場景用例用於構建複雜的接口測試場景,模擬真實業務流程。測試用例採用先新增後編輯詳細信息的模式,點擊“+”→添加場景

成功新增接口場景用例之後,點擊用例名稱,編輯用例詳細信息。點擊基本信息右側的更多按鈕,可編輯用例詳細基本信息。

PostIn從初級到進階(7) - 對接口進行全方位自動化測試,有效確保接口質量_用例_06

接口場景用例

屬性

描述

名稱

測試用例名稱,簡單描述該測試用例目的,方便查詢、管理。

用例類型

顯示用例類型,不可編輯。

模塊

測試用例所屬模塊,方便快速查詢

狀態

顯示測試用例狀態(未開始、進行中、結束),默認為未開始。

責任人

顯示測試用例的負責人。

優先級

顯示測試用例優先級(低、中、高),默認為低。

創建時間

顯示用例創建時間,不可編輯。

更新時間

顯示用例最後一次更新時間,更新用例同時會更新該時間,不可編輯。

描述

為用例提供簡單描述,説明用例的目標或者關鍵內容,可以讓團隊成員快速瞭解用例內容。

在接口場景用例,需要在測試步驟設計接口場景,例如取到的變量是admin,則執行登錄,否則執行其他接口。測試步驟添加if判斷,在接口場景用例,點擊添加步驟→if判斷

PostIn從初級到進階(7) - 對接口進行全方位自動化測試,有效確保接口質量_#PostIn_07

if判斷

接口場景用例測試步驟添加接口單元用例,在接口場景用例,點擊添加步驟→關聯用例

PostIn從初級到進階(7) - 對接口進行全方位自動化測試,有效確保接口質量_#PostIn_08

關聯單元用例

1.3 添加接口性能用例

集成接口性能測試工具,支持對API進行高併發和負載測試。點擊“+”→添加接口性能

添加性能用例後,點擊性能用例名稱,進入用例詳情,性能用例可關聯接口單元用例或者接口場景用例來進行壓測。

PostIn從初級到進階(7) - 對接口進行全方位自動化測試,有效確保接口質量_#PostIn_09

關聯用例

關聯用例之後,進行接口性能策略配置。支持按照次數或者時間對接口進行壓測。

屬性

描述

併發量

接口在同一時間段內能夠同時處理的請求數量。

執行次數

反覆運行次數。

執行時間

在設置時間內重複執行接口併發。

1.4 執行接口用例

維護接口用例後,點擊接口用例名稱,進入接口詳情編輯,在接口用例詳情也可以對接口進行測試。用例測試使用的環境和接口管理一致。用例測試前需要選擇用例測試環境,選擇環境後點擊測試按鈕。

PostIn從初級到進階(7) - 對接口進行全方位自動化測試,有效確保接口質量_測試計劃_10

測試接口用例

測試完成後,顯示測試結果。

PostIn從初級到進階(7) - 對接口進行全方位自動化測試,有效確保接口質量_#PostIn_11

測試結果

也可以點擊“歷史”按鈕,查看用例調試歷史。

PostIn從初級到進階(7) - 對接口進行全方位自動化測試,有效確保接口質量_#性能測試_12

調試歷史

2、接口測試計劃

可以對接口單元用例、接口場景用例添加測試計劃,在測試計劃中集中運行,也可以實現給Arbess進行調用,在CICD前自動執行測試計劃。

2.1 添加接口測試計劃

在接口測試頁面點擊測試計劃→添加計劃。添加測試計劃。

PostIn從初級到進階(7) - 對接口進行全方位自動化測試,有效確保接口質量_#性能測試_13

添加測試計劃

新增測試計劃成功之後,在測試計劃列表可以看到新增的測試計劃,也可以通過測試計劃名稱進行查詢。

添加自動化測試計劃後,點擊測試計劃名稱,進入測試計劃詳細,點擊關聯用例,可以將用例庫中的接口用例(接口單元、接口場景),批量的添加到測試計劃中。

PostIn從初級到進階(7) - 對接口進行全方位自動化測試,有效確保接口質量_測試計劃_14

關聯用例

綁定用例後,可以使用用例名稱(模糊查詢)來進行篩選。點擊關聯的用例名稱,可以查看測試用例的基本信息。

PostIn從初級到進階(7) - 對接口進行全方位自動化測試,有效確保接口質量_測試計劃_15

瀏覽用例信息

點擊測試用例右側“…”顯示刪除按鈕,這裏的刪除只是刪除用例和測試計劃的關聯關係,不是刪除用例。

PostIn從初級到進階(7) - 對接口進行全方位自動化測試,有效確保接口質量_測試計劃_16

刪除關聯 

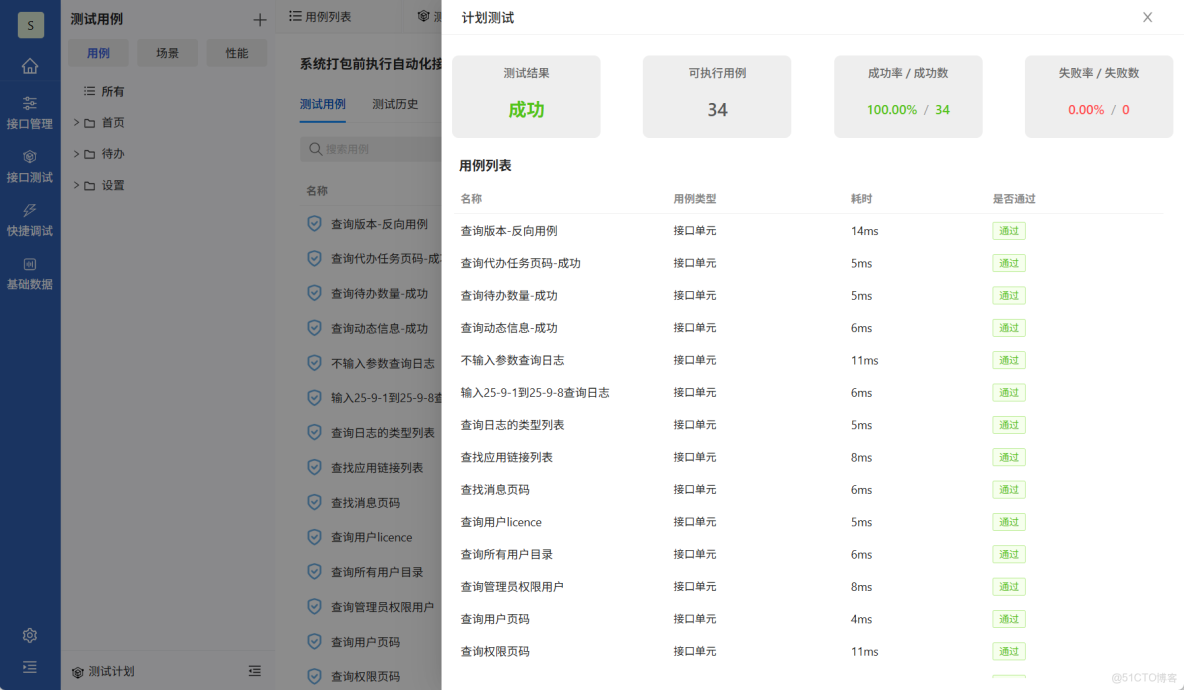
2.2 執行接口測試計劃

在測試計劃選擇環境,點擊測試,執行測試計劃所有用例。彈窗顯示測試結果。測試結果包含總體測試結果、執行用例數量、通過/失敗數量、通過率/失敗率、耗時、以及每個用例執行情況。

PostIn從初級到進階(7) - 對接口進行全方位自動化測試,有效確保接口質量_#性能測試_17

測試結果

在測試歷史可以點擊測試的序號來查看測試結果。

PostIn從初級到進階(7) - 對接口進行全方位自動化測試,有效確保接口質量_測試計劃_18

測試結果

測試結果包含總體測試結果、執行用例數量、通過/失敗數量、通過率/失敗率、耗時、以及每個用例執行情況。

測試計劃執行完畢之後,用户可選擇生成測試報告,系統會根據選擇時間範圍生成測試報告。

PostIn從初級到進階(7) - 對接口進行全方位自動化測試,有效確保接口質量_#性能測試_19

生成測試報告

點擊測試報告名稱,查看測試報告。

PostIn從初級到進階(7) - 對接口進行全方位自動化測試,有效確保接口質量_用例_20

測試報告

測試計劃還可以通過定時任務的方式執行,分為單次觸發、循環觸發。

單次觸發,測試計劃只會執行單次,選擇執行日期和執行時間,測試計劃按照設置日期執行。

PostIn從初級到進階(7) - 對接口進行全方位自動化測試,有效確保接口質量_用例_21

單次觸發

設置單次觸發,任務狀態為運行中,單次任務執行完畢之後,任務狀態更改為已觸發。

循環觸發定時任務,需要設置循環觸發時間間隔,如下圖測試計劃會每600分鐘執行一次

PostIn從初級到進階(7) - 對接口進行全方位自動化測試,有效確保接口質量_測試計劃_22

循環觸發